Honnêtement, je ne suis pas un grand fan de « l’innovation » technique. Tout n’a pas besoin d’être amélioré ou doté du WiFi. En fait, souvent, je trouve qu’ils ajoutent de la complexité pour le plaisir de la complexité, conduisant à des échecs, à des opérations ratées ou, de manière générale, rendant ce qui était simple encore plus pénible.
Une fois, ma femme et moi avons économisé pour un lit réglable Sleep Number et nous avons tous les deux tellement détesté cette chose, un an après l’avoir acheté, nous avons acheté un vieux matelas bon marché et ordinaire juste pour en finir avec les gremlins électriques constants ou l’agitation d’une utilisation régulière.
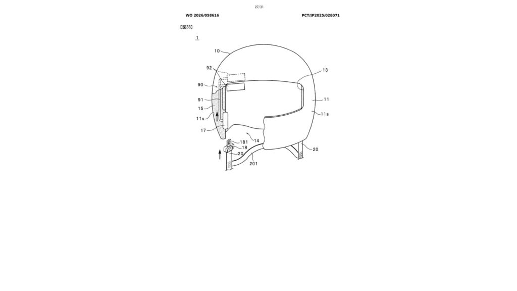
Je veux juste que cette foutue chose fonctionne et ne pas toujours avoir à mettre à jour une application ou à craindre que de l’eau ne s’infiltre d’une manière ou d’une autre dans les mécanismes de contrôle de quelque chose qui est censé être étanche. Mais c’est l’ambiance que me procure le nouveau brevet d’Autoliv, qui montre prétendument une mentonnière de casque de moto auto-ajustable.
Pourquoi avons-nous besoin de cela alors que l’ancienne boucle D fonctionne et fonctionne parfaitement, je ne sais pas vraiment.
Découvert par nos bons amis chez Visière baisséequi ne nous font pas toujours honneur lorsqu’ils nous citent (Salut les amis !), le brevet Autoliv montre clairement la mentonnière d’un casque de moto. Mais caché à l’intérieur de la coque du casque, il y a un petit mécanisme électrique vrombissant qui serre apparemment la jugulaire pour le cycliste.
La jugulaire elle-même, cependant, semble suivre une conception semblable à celle d’une ceinture de sécurité, avec un clip qui engage le mécanisme et se resserre automatiquement. Visière baissée souligne également qu’il n’est pas clair comment le système ne se contente pas de vous étouffer, bien qu’il y ait probablement un capteur de pression intégré au système. Du moins, j’espère qu’il y en aura.
Cela dit, les pressions préférées des gens sont différentes. Il y a des moments où je veux une sangle un peu plus serrée, tandis que d’autres fois où je veux une sangle plus lâche. La manière dont vous les prédéfinissez pour différents coureurs selon les groupes d’âge, les statures, les poids et les sexes n’est pas non plus claire.
Mais plus que tout, à qui s’adresse-t-il exactement ? Quelle solution cela résout-il ? En quoi est-ce mieux qu’une boucle en D ou même le système à cliquet devenu plus courant ces derniers temps ? Honnêtement, je ne pense pas que ce soit le cas, car cela ajoute de la complexité tout en supprimant l’absorption des impacts potentiellement salvatrice, car vous ajoutez des mécanismes électriques dans la coque du casque.
Qui demande ça exactement ? Je suis sûr que non. Cela ressemble beaucoup à ce casque de moto sans bretelles dont nous parlions il y a quelques semaines. Mais qu’en pensez-vous tous ? Est-ce que cette solution est quelque chose que vous avez vu ou ressenti ? Ou est-ce juste une idée qui devrait mourir? Faites-le-nous savoir dans les commentaires ci-dessous.

